Mode
Some link to WhatsApp
 5 tehokasta vinkkiä ilman raitoja Helsingissä

5 tehokasta vinkkiä ilman raitoja

Ikkunoiden pesu kotona voi olla helppoa ja nopeaa, kun käytät oikeita välineitä ja tekniikoita. Tässä artikkelissa kerromme, kuinka pestä ikkunat ilman raitoja, käyttämällä joko vettä ja Fairyä tai valmista ikkunanpesuainetta. Näiden vinkkien avulla saat kirkkaat ja puhtaat ikkunat vaivattomasti.


Tarvittavat välineet ikkunoiden pesuun

  • Mikrokuituliinoja tai pehmeitä rättejä

  • Sieni tai ikkunanpesin

  • Ikkunalasta (kuivain), kannattaa valita laadukas ikkunanpesuun tarkoitettu lasta, sillä se on yksi tärkeimmistä työvälineistäsi, jotta voit saavuttaa raidattomat ikkunat

  • Ikkunakaavin pinttyneelle lialle

  • Ämpäri

Pesuaineen valinta:

  • 🔹 Vesi ja Fairy – edullinen ja tehokas ratkaisu (paras valinta)

  • 🔹 Ikkunanpesuaine – nopea ja helppokäyttöinen vaihtoehto


6 vinkkiä ikkunoiden pesuun ilman raitoja

1. Valmistele ikkunat ennen pesua

Poista ikkunalaudalta kaikki esineet ja kukat. Siirrä tai irrota verhot. Hyvin valmisteltu työtila nopeuttaa ikkunanpesua ja ehkäisee lisälikaa.


2. Poista pöly ja lika kuivana

Pyyhi ikkunanpuitteet, helat ja nurkat kuivalla liinalla tai harjalla. Tämä estää pölyn sekoittumisen veteen ja raitojen syntymisen.


3. Pese karmit ja tiivisteet huolellisesti

Levitä pesuainetta sienellä ja puhdista karmit ylhäältä alas.
Kääntö- ja kallistusikkunoissa muista pestä myös:

  • karmien välit

  • kumitiivisteet

  • helat

Huuhtele liinaa säännöllisesti puhtaassa vedessä.


4. Pese ikkunalasit oikein

Levitä pesuaine lasille:

  • Fairy-vesiseos sienellä tai pesimellä

  • ikkunanpesuaine suihkepullolla ja kostealla sienellä pesien ongelmakohdat

Pinttynyt ja kova lika voidaan tarvittaessa poistaa varovasti ikkunakaapimella.

Varmista että koko ikkunalasin pinta on märkä, ennen kuin aloitat seuraavan vaiheen.


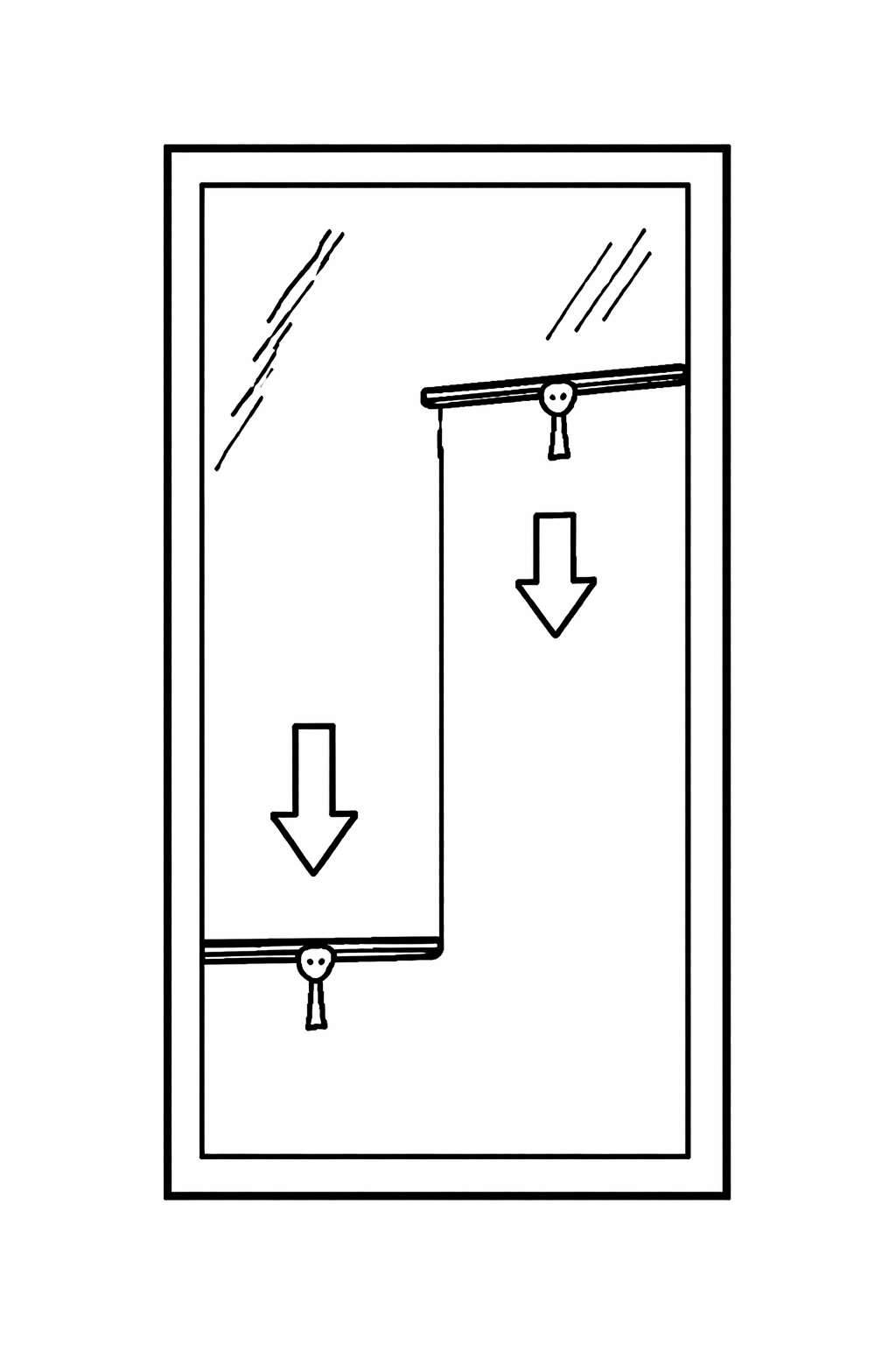
5. Kuivaa ikkunat lastalla – tärkein vaihe

Vedä pesuvesi pois ikkunalastalla:

  • yhdellä tasaisella liikkeellä reunasta reunaan

  • ylhäältä alas tai

  • vasemmalta oikealle

  • limittäen vetoja noin 2–3 cm

  • pyyhi lasta vetojen välissä liinalla

Oikea kuivaustekniikka on avain raidattomaan lopputulokseen.


6. Älä pyyhi lasin pintaa liinalla

Vältä pyyhkimästä liinalla suoraan lasin pintaa, sillä se aiheuttaa helposti raitoja ja nukkaa.
👉 Käytä vain puhdasta liinaa, ja vain lasin kulmien ja reunojen kuivaamiseen, mihin ikkunalasta ei ylety. Tämä on tärkeä yksityiskohta, jos haluat täysin kirkkaat ikkunat.


Lisävinkkejä onnistuneeseen ikkunanpesuun

  • Vaihda pesuvesi heti, kun se likaantuu

  • Älä pese ikkunoita suorassa auringonpaisteessa, valitse mielummin hieman pilvinen päivä ikkunanpesuun

  • Pese ja kuivaa välineet ennen käyttöä


Yhteenveto

Kun noudatat oikeaa järjestystä ja tekniikkaa, ikkunoiden pesu kotona on helppoa ja tehokasta. Käytitpä vettä ja Fairyä tai ikkunanpesuainetta, nämä vinkit auttavat sinua pesemään ikkunat nopeasti ja ilman raitoja.

Jos tämä vaikuttaa liian suurelta urakalta voit aina tilata ammattilaisen pesemään ikkunasi nopeasti, tehokkaasti ja tietysti raidattomasti. Voit helposti ottaa meihin yhteyttä ja pyytää tarjouksen kotisi ikkunanpesusta tästä: 

Ikkunoiden pesu kotona helposti ja nopeasti Helsingissä
Ikkunoiden pesu kotona helposti ja nopeasti Helsingissä